Zwei Versionen von kontaktloser Zündung im Saporoshez
Stand: 31.03.2025



Aus dem Saporoshez-Forum 2016, Texte und Bilder von Arthur Rudolph ( L.I ) und von Paul Raiser.


1. Kontaktlose Zündung Pertronix Ignitor PER-1847V https://www.123ignition.de/ ( 2025 )

Hallo,
es gibt eine kontaktlose Zündung für den Käfer, die kann man auch in den Sapo einbauen.
Pertronix Ignitor PER-1847V PERTRONIX ELECTRONIC IGNITION
FOR STOCK VACUUM ADVANCE BOSCH DISTRIBUTORS BEETLE 69-79 / GHIA 69-74 / BUS 69-79
Trike-Axel aus MD hat die oft verwendet.

Wenn man umbauen will kann man von mir Anleitung mit Zeichnung bekommen. Der Verteiler dreht halt im Sapo andersrum als im VW, das muss man brücksichtigen. Kostet ca 60-70 Euro und etwas Arbeitszeit.

Man muß den Träger für den Sensor etwas modifizieren und die Grundplatte aus dem Verteiler ein wenig umbauen, ist nicht so schlimm. Der Verteiler von Arthur läuft gut damit. Fliehkraft- und Unterdruckverstellung bleiben damit original.
Kriterium für den Umbau ist, daß sich über den gesamten Zündverstellbereich der Verteilerfinger im Zündzeitpunkt unter dem jeweilegen Kerzenkontakt für den richtigen Zylinder befindet.

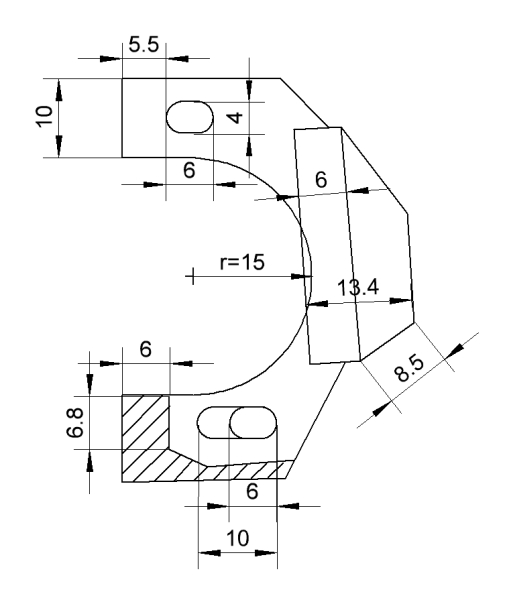
Hier ist der Plan zum Einbau: Der Sensor muss an der Grundplatte etwas modifiziert werden, der schraffierte Bereich wird abgeschnitten:

kosazue_001.jpg

Grundplatte ausbauen und zerlegen. Der obere Teil der Grundplatte muss leicht geändert werden:
- Filzhalter entfernen, in das Loch Gewinde M4 schneiden
- Exzenterschraube entfernen, Unterbrecherbolzen entfernen
- neues Loch mit Gewinde M4 gem. Zeichnung setzen

kosazue_002.jpg

Grundplatte zusammenbauen, Geber montieren, einbauen, Magnetring aufsetzen, Abstand Magnetring-Geber auf 0,8mm einstellen.

kosazue_003.jpg

Zuleitungen gem. Bildern herausführen.

kosazue_004.jpg

Elektrische Schaltung:

kosazue_005.jpg


Hinweis:
Der Lieferant schreibt min. 3 Ohm Gesamtwiderstand (Zündspule + Vorwiderstand) vor, daher muß die Startanhebung abgeklemmt werden. Grundsätzlich ist dieses Modul bewährt, vor allem bei Fahrern luftgekühlter VW. Man kann damit auch andere Zündanlagen ansteuern.....

Als Ersatzteil empfiehlt sich, eine originale Grundplatte mit eingestelltem Kontakt mitzuführen, dann geht der Notrückbau bei Bedarf halbwegs einfach.

Hinweis:
Am Sensor gem. Zeichnung bei Bedarf das Langloch von 6 auf 10mm Länge auffeilen - für den Einstellbereich des Sensors.

Der Umbau ist wie so vieles im Leben Geschmackssache. Eine ordentliche Kontaktzündung mit nicht ausgeschlagenen Buchsen im Verteiler läuft i.d.R. genauso gut. Die Lebendauer der Kontakte mit Schleifstück liegt bei etwa 10.000 km, da muss man halt ggf. mal den Abstand nachstellen. Vorteil der kontaktlosen Zündung ist, dass der einmal eingestellte Zündzeitpunkt sich nicht durch Verschleiß verändert. Wenn der Rotor mit den Magneten ordentlich gefertigt ist ist auch der Unterschied zwischen den einzelnen Zylindern sehr gering. Das alles sieht bei mechanischer Zündung bei verschlissenen Bauteilen oft anders aus. Höhere Leistung bringt das natürlich nicht.


2. Kontaktlose Zündung Power-Spark, https://www.power-spark.de/ ( 2025 )

Hier ist die Zündung, die der Bekannte von Paul Raiser in Österreich in seinem LuAZ-967M drin hat. Sie ist unter anderem für VW Käfer 1200. So sieht sie im eingebauten Zustand aus:

kosazue_006.jpg

kosazue_007.jpg

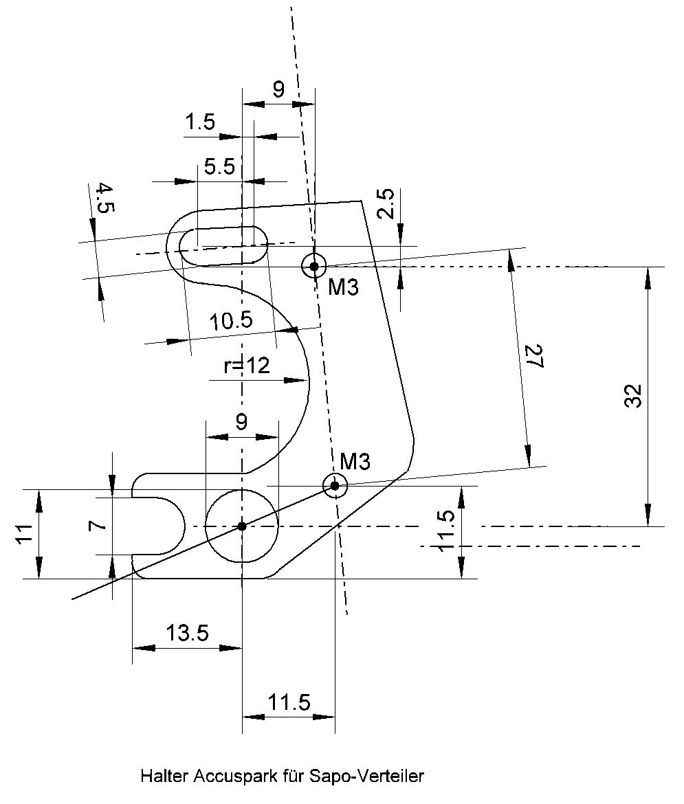
Wie es schon aus der Bezeichnung des Artikels ersichtlich ist, ist diese Zündung für den VW Käfer bestimmt. Die Halteplatte passt nicht in den Sapo-Verteiler, man muss selbst eine basteln.
Rechts ist die mitgelieferte Halteplatte, links ist die selbst gebastelte Halteplatte für den Sapo-Zündverteiler:

kosazue_008.jpg

Der Vorteil dieser Zündung: es bleiben die originalen Zündverteiler (also auch die Fliehkraft- und Unterdruckversteller) und Zündspule drin und es kommt auch kein Steuermodul dazu. Optisch ändert sich nach dem Einbau dieser Zündung nichts, das zweite Kabel am Zündverteiler und, dass die Kabel in den Verteiler rein gehen und nicht "original" außen angeklemmt sind, wird sicher nicht jedem auffallen.
Für diesen Umbau ist die "Rutschplatte":

kosazue_009.jpg

Bei den Kontakten ändert sich beim Seitenspiel der Grundplatte der Kontaktabstand (d. h. Schließwinkel) und das hat Auswirkungen auf den Motorlauf. Dem Sensor ist das Spiel egal, Hauptsache der streift nicht am Ring auf dem Nocken. Als erstes, vor dem Ausbau des Zündverteilers wie hier beschrieben die Zündung einstellen.

Danach den Zündverteiler ausbauen dazu muss nur diese Mutter gelöst werden:

kosazue_010.jpg


Danach das Modul in den Verteiler einbauen einbauen und den Verteiler wieder einbauen. Nach dem die Kabel angeschlossen sind, Motor starten und die Zündung mit einem Stroboskop einstellen. Dabei wieder wie hier beschrieben, die Zündung auf die Grundeinstellung einstellen. Die Grundeinstellung nach der Markierung ?? an der Kurbelwellenriemenscheibe ist die erforderliche 6° Vorzündung. Zu beachten ist, dass bei der Einstellung mit dem Stroboskop, der Schlauch zur Unterdruckdose am Zündverteiler abgezogen sein muss. Und er muss dabei verschlossen sein, dass der Vergaser keine falsche Luft zieht. Die Feinabstimmung des Zündzeitpunktes wird danach nur mit dem Hebel nach lösen der Mutter (3) vorgenommen. Bei mir sind es noch + 2 Striche auf der Skala, das kann aber von Motor zu Motor anders sein. Am einfachsten beim betriebswarmen Motor den Verteiler langsam in Richtung + drehen. Dabei wird die Drehzahl zuerst etwas steigen, danach kommt aber der Punkt, an dem der Motor beginnt unruhig zu laufen, ab diesem Punk wieder etwas zurück drehen, bis man den Moment erwischt, bei dem der Motor am schnellsten aber immer noch ruhig läuft. Das dürfte dann der passende Zündzeitpunkt sein.

Das Powerspark-Modul läßt sich gut einbauen. Paul hat mal ne Adapterplatte dazu gepostet. Vorteil ist, daß man diese Platte mit dem Modul wie den Kontakt einbauen und einstellen kann (mit der Schraube und dem Exzenter).

kosazue_011.jpg

zusammen gebaut:

kosazue_012.jpg

Das Modul für VW gabs bei der Techno Classica Essen 2016 schon für 35 bzw. 39 EUR. Im Gegensatz zum Pertronix Ignitor hat dieses Modul eine Ruhestromabschaltung, d.h. bei stehendem Motor wird der Strom durch die Zündspule abgeschaltet.
Vorteil: Modul und Zündspule werden bei eingeschalteter Zündung und stehendem Motor nicht warm.
Nachteil: Zündeinstellung nur mit Stroboskop, mit Prüflampe gehts hier nicht mehr.
Zurück zur Hauptseite
Autor und Hinweise